超24万个应用被下架苹果配合政府整治非法在线赌博App
超2.4万个应用被下架 苹果:配合政府整治非法在线赌博App
近日,App Store下架了一批App,其中多是棋牌类和游戏类App。
苹果审核团队在对开发者发出的邮件中声明,此举是为了配合政府对非法线上赌博App的整治行动,截止8月9日下午5:30分,数据显示,共下架App 24758个。

到8号为止,一天内被下架App的数量在5000左右,不及7月25日和26日上万的记录,但在7月31日至昨日近10天的时间里,仍然算是一个高峰。

苹果整治棋牌类和游戏类App,也影响了不少玩家们的生活。
有圈友表示,“这是奔三的节奏啊,一觉醒来,一首晾凉送给棋牌圈的兄弟姐妹”。

还有圈友表示,“版号双停,苹果抽风,小游戏冲击,各位游戏老板怎么活呢”
U兔从七麦数据查询到,下架的应用2.4万款应用中,游戏类应用下架14778个,而娱乐城游戏(棋牌、博彩)应用下架4426个。

同时,据七麦数据报告,本次下架受影响的开发者账号多是个人账号,受波及最大的账号甚至有215款应用被下架,这与苹果官方发出的邮件内容中仅允许“有正规营业牌照的开发者账号发布赌博类App”也是一致的。

有开发者晒出苹果发来的邮件,解释了下架的缘由,邮件中明确提到两点信息:
1.为了减少App Store欺诈行为、并配合政府部门对非法在线赌博活动的整治要求,不再允许个人开发者提交赌博应用,这包括涉及真钱赌博和模拟在线赌博体验的应用。
2.未来只接受有牌照的商业账号在App Store提交赌博应用
以下是开发者收到苹果邮件的内容翻译:
尊敬的开发者,
为了减少App Store欺诈行为、并配合政府部门对非法在线赌博活动的整治要求,我们不再允许个人开发者提交赌博应用,这包括涉及真钱赌博和模拟在线赌博体验的应用。
因此,这款应用已经被从App Store移除,虽然你不能再用这个账号分销赌博应用,但可以继续在App Store提交和分销其他类型的应用。
未来,我们将只接受有牌照的商业账号在App Store提交赌博应用。
请访问注册页面了解苹果开发者项目对于机构注册的要求,想要获得如何把一款应用转移到另一个开发者账号,请浏览App Store Connect开发者帮助当中的应用转换页面。
做为提醒,App Store审核指南规定开发者有责任确保自己的应用符合当地的法律法规,故意误导或者伤害消费者,或者避开审核的行为将导致你的开发者账号被封禁,访问苹果开发者项目的使用条款了解封号的更多信息。
致敬,
苹果审核团队
附:苹果给开发者的原文邮件截图
此外,苹果团队在近期对App Store上架应用的审核时间延长,表明苹果团队的审核比之前更严格,显示了苹果此次应对赌博和非法App的决心。

不过,对于被误伤的App,苹果团队也及时地做出了恢复,并做了清榜处理,留待观察。
(注:清榜处理指,该App继续上架并保持营业状态,但是从所有苹果榜单中被移除。
)

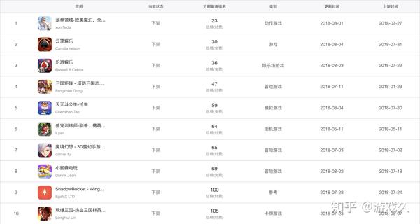
纵观所有下架App榜单,热度Top 10 App里,有《云顶娱乐》《乐游娱乐》以及《天天斗公牛》三款棋牌类App,其余七款中有一款为VPN,剩余都是游戏类App;而该榜单Top 30的App中则有12款棋牌类App。

其中,进入七麦数据对《乐游娱乐》整理的详细页面,发现该App下,所有用户评论内容都指向“斗牛娱乐”,清一色五星好评,由此可以看出,马甲包也同时被苹果下架了。
并且,与评论中所指的斗牛娱乐相关的App,在App Store中搜索均显示已下架。



而以下是苹果针对马甲包给开发者的邮件翻译:
而该Design - 4.3条款即为马甲包:
不过,针对不含赌博因素而被误伤的App,开发者可以通过修改评级,去掉“赌博”关键词之后向苹果申诉重新恢复上架。
而马甲包开发商则需要及时清理和整顿马甲包内容,尽量规避风险。
另外,个人开发者也需要及时跟进政策风向,调整经营策略。

此次这么大规模的应用下架风波,看来苹果势必要清理那些非法赌博App。
而前段时间央视的直接点名批评或是此次清理的导火索。

7月31日,央视第13套新闻频道以“苹果官方应用商店管理存漏洞”为标题进行了专题报道,并共分为5个部分,从网络彩票、马甲包、非法App等多个层面进行了总计长达34分钟的综合报道。

因此,App Store此次下架棋牌类App也是为了配合整治要求,回应CCTV新闻的报道,同时有利于提高用户体验。

http://weixin.qq.com/r/xzhSSnrERic5rT4p923V (二维码自动识别)
超2.4万个应用被下架 苹果:配合政府整治非法在线赌博App
Comments
Post a Comment